Город МОСКОВСКИЙ
00:10:38
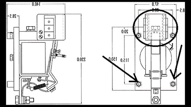
Устройства плавного пуска асинхронных электродвигателей
Описание
Больше информации по данной теме вы можете найти на нашем сайте http://elenergi.ru/
Устройства плавного пуска применяют для ограничения пусковых токов асинхронных машин, а также для плавного наращивания их момента при пуске.
Для просмотра интересных публикаций и новостей подписывайтесь на наши группы в соцсетях:
https://vk.com/electriciansblog
https://www.facebook.com/groups/415337499094259/
Телеграм канал:
t.me/electricians_news
Рекомендуемые видео

Принцип работы плавного пуска электродвигателей
671 просмотров

Плавный пуск асинхронного электродвигателя: устройство, схема
678 просмотров

Экстрасенсы. Битва сильнейших, 2 сезон, 29 выпуск
4 817 309 просмотров

Заброшенный проект! Оживляем уникальную тачку
360 160 просмотров

В Новый год смотрим RUTUBE всей семьей
52 556 просмотров

Гарри Поттер и философский камень (фильм, 2001, 1 часть)
12 014 203 просмотров

«Авангард». Бесстрашие — дело семейное
76 022 просмотров

Бегущий человек | The Running Man (2025)
1 080 539 просмотров

«Нефтехимик». Оставаться в стае онлайн
0 просмотров

«Динамо», Москва. Спектакль без фальши
0 просмотров

Зверополис 2 (мультфильм, 2025)
581 562 просмотров

СКА. Борьба в фан-секторе
0 просмотров

Хищник: Планета смерти (2025) / Predator: Badlands
0 просмотров

«Спартак». Красно-белые голоса
33 984 просмотров

Франкенштейн (фильм, 2025) Frankenstein
1 368 374 просмотров

Звёзды в джунглях, 2 сезон, 8 выпуск
3 600 629 просмотров

Гарри Поттер и Тайная комната | Harry Potter and the Chamber of Secrets (2002)
2 508 311 просмотров

ПОПАДАНЦЫ АУДИОКНИГА: ВЕК ОГНЯ И КАМНЯ
0 просмотров

Тролль 2 (2025) / Troll 2
181 488 просмотров

Гарри Поттер и узник Азкабана| Harry Potter and the Prisoner of Azkaban (2004)
2 683 939 просмотров